Категории

Кран шаровой стандартнопроходной 283 с фланцем для установки привода

Кран шаровой стандартнопроходной 283 с фланцем

Характеристики

Макс. температура (Т) °С.: до +200 °С

Мин. температура (Т) °С.: до -40 °С (исп. У), до -60 °С (исп. ХЛ)

Класс герметичности: Класс «А» ГОСТ 9544-2015

Срок службы: Не менее 25 лет

Гарантийный срок: 3 года или не менее 10 000 циклов

Материалы корпуса: Сталь 20/09Г2С/12Х18Н10Т

Тип присоединения:

фланцевое/фланцевое

Рабочая среда:

Теплосетевая вода, нефтепродукты, ГСМ и другие рабочие среды, неагрессивные для материалов деталей крана.

Краны DN700 - 1400 изготавливаются под заказ. Информация по кранам DN700 - 1400 предоставляется по запросу.

Модификации

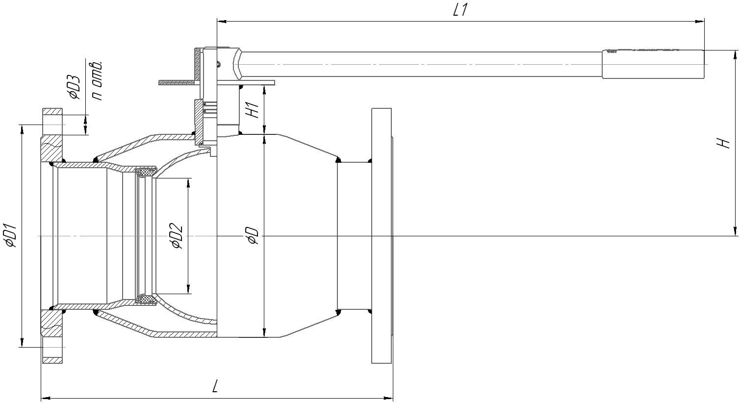
Артикул DN PN L L1 H H1 D D1 D2 D3 N OF HOLES Вес
28320125 125 16 350 525 187 50 180 210 100 18 8 25,45
28320150 150 16 380 525 203 48 219 240 125 22 8 34,00
28320200 200 16 450 525 228 45 273 295 148 22 12 51,10
28320250 250 16 530 1030 273 51 351 355 200 26 12 92,00
28320300 300 16 750 - 414 101 426 410 240 26 12 161,00
28320350 350 16 750 - 464 100 530 470 300 26 16 280,00
28320400 400 16 880 - 464 100 530 525 300 30 16 355,00
28320500 500 16 990 - 561 103 630 650 390 33 20 615,00
28320600 600 16 1173 - 664 104 820 770 500 39 20 950