Категории

Кран шаровой латунный TEMPER н/н бабочка

Характеристики

Макс. температура (Т) °С.: до +150°С

Мин. температура (Т) °С.: до -20 °С

Класс герметичности: Класс «А» ГОСТ 9544-2015

Срок службы: 30 лет (при соблюдении правил эксплуатации, требований к составу рабочих сред)

Гарантийный срок: 5 лет

Материалы корпуса: Латунь ЛС59-1В

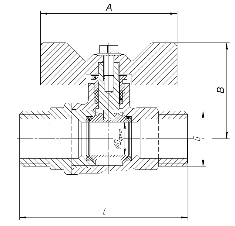
Присоединение: резьба наружная-наружная

Номинальное давление: 2,5 Мпа, 4,0 Мпа.

Паспорт

Тип присоединения: резьба наружная / наружная

Форма рукоятки: бабочка. 

Краны применяются в качестве запорной арматуры на трубопроводах систем холодного (в том числе питьевого) горячего водоснабжения, отопления, водяного пара, жидких углеводородов, сжатого воздуха, а так же технологических трубопроводах, транспортирующих нефтепродуктов, ГСМ и другие жидкости, не агрессивные к материалам крана.

Модификации

Артикул DN PN L А В D G Масса, г Коробка / шт
8815ННБ1240 15 40 56,5 52 37,5 12,5 1/2 150 30
8820ННБ3440 20 40 59 52 39,5 15 3/4 209 22